編輯:北京凌鷹起重 瀏覽:7357 時間:2014-10-20
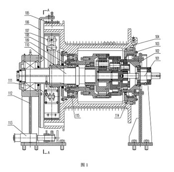
本實用新型的目的是這樣實現的:一種內置減速器且速度可控的重力下降卷揚機,傳動軸、軸承座、卷筒和卷揚支座,卷筒內設有內置減速器,內置減速器的輸入端殼體固定在卷揚支座上,傳動軸與內置減速器的輸出端固聯,且傳動軸與內置減速器的輸入軸同軸布置,內置減速器具有前端殼體和減速器下箱體,減速器下箱體與內置減速器的輸出端殼體連接,減速器下箱體通過第二軸承支承在傳動軸上,卷筒通過第三軸承和第四軸承分別支承在內置減速器的前端殼體和減速器下箱體的尾端上,傳動軸上裝有全浮式內漲離合器,軸承座通過第一軸承支承傳動軸,卷筒外設有制動鼓外圈,制動鼓外圈設有外漲帶式制動器,且外漲帶式制動器懸套于卷筒的制動鼓外圈。本實用新型結構緊湊,體積小;使用安全可靠;不僅提高起重機械的裝卸作業效率,而且節約能源,可以實現內置減速器和全浮式內漲離合器同時集成于卷筒內;當全浮式內漲離合器松閘時,卷筒與內置減速器動力分離,卷筒成為懸浮狀態,重物通過鋼絲繩拖動卷筒旋轉,實現重物的重力下降,通過操縱外漲帶式制動器控制重物的下降速度和重物的制動;當全浮式內漲離合器合閘時,內置減速器的動力通過全浮式內漲離合器傳遞到卷筒上,實現卷筒在動力作用下的正反轉,通過鋼絲繩驅動重物上升和下降。
附圖說明

上一條: 如何提高風電葫蘆運行的穩定性?
下一條: 一種新型的環鏈電動葫蘆平衡結構介紹

